PF-201 > PF-Series

본문 바로가기
www.poweremc.com
TOTAL EMC SOLUTION

PF-Series

본문

Number of Lines 2L
Current 15A
Voltage 250VAC
DCR under 50mΩ
Operating Temperature <-20 ~ +80℃

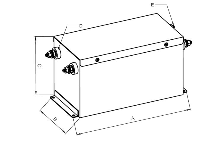
Size Information / External appearance

A (Length) 200 mm
B (Width) 92 mm
C (Height) 101 mm
D (Out Port) M5 bolt
E (In Port) M5 bolt

Attenuation / Circuit


Power EMC Co.,Ltd 12-2, Deokseongsandan 2-ro 50beon-gil, Idong-eup, Cheoin-gu, Yongin-si, Gyeonggi-do, Republic of Korea
TEL : 031-322-5230 FAX : 031-322-5231 E.mail : sales@poweremc.com CopyRight © Poweremc Co.,Ltd. ALL RIGHTS RESERVED.