SM-A4101 > SM-Series

본문 바로가기
www.poweremc.com
TOTAL EMC SOLUTION

SM-Series

본문

Number of Lines 2P4L
Current 100A
Voltage 115VAC
Frequency 400Hz
Shield Effectiveness 800dB @ 200kHz
Temperature rise <+20℃
Voltage Drop 0.3%

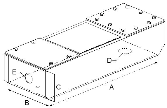
사이즈정보 / 외관도

A (Length) 1000mm
B (Width) 340mm
C (Height) 110mm
D (Out Port) Ø50
E (In Port) Ø42

감쇄특성 / 회로도


회사명 : (주)파워이엠씨 사업자번호 : 123-86-30024 대표 : 권호용 주소 : 경기도 용인시 처인구 이동읍 덕성산단2로 50번길 12-2
TEL : 031-322-5230 FAX : 031-322-5231 E.mail : sales@poweremc.com CopyRight © Poweremc Co.,Ltd. ALL RIGHTS RESERVED. (ADMIN)