SL-B2600 > SL-Series : 저누설형 전원라인필터

본문 바로가기
www.poweremc.com
TOTAL EMC SOLUTION

SL-Series : 저누설형 전원라인필터

본문

Number of Lines 1P2L
Current 60A
Voltage 220VAC
Frequency 50 / 60Hz
Shield Effectiveness 100dB @ 100kHz ~ 18GHz
Temperature rise <+20℃
Voltage Drop 0.3%

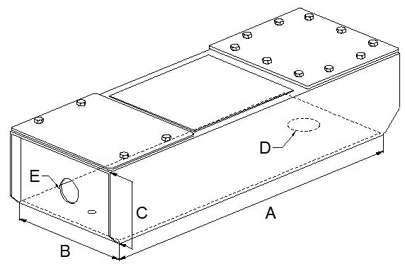
사이즈정보 / 외관도

A (Length) 530mm
B (Width) 160mm
C (Height) 90mm
D (Out Port) Ø32
E (In Port) Ø26

감쇄특성 / 회로도


회사명 : (주)파워이엠씨 사업자번호 : 123-86-30024 대표 : 권호용 주소 : 경기도 용인시 처인구 이동읍 덕성산단2로 50번길 12-2
TEL : 031-322-5230 FAX : 031-322-5231 E.mail : sales@poweremc.com CopyRight © Poweremc Co.,Ltd. ALL RIGHTS RESERVED. (ADMIN)